Biztonságos rögzítés A hatszögletű csavaros csomagolást úgy alakították ki, hogy rendszerezve legyenek, és megelőzzék a sérüléseket. Ezek a csomagolódobozok puha béléssel vannak ellátva, amelyhez nyílások vannak. A csavarok fej-fej mellett helyezkednek el bennük, így minden hatlapfejű csavar a helyén marad. Ezáltal gyorsan kiszedhetők és elhelyezhetők, és elkerülhető a karcolás a szállítás során. Az ömlesztett szállításhoz a hatszögletű csavarokat gyakran csomagonként 500 darabban csomagolják. Ezeket a zsákokat ezután belső dobozokba és megerősített fadobozokba teszik, hogy a rakomány stabilan maradjon. A kritikus iparágak esetében a magas specifikációjú csomagolási lehetőségek megfelelhetnek a szigorú katonai szabványoknak. Ide tartozhatnak a lezárt, zsír- és vízálló zacskók, amelyek védik a csavarokat a korróziótól a tárolás és a szállítás során.
A hatlapfejű csavar minősége mutatja az erősségét. Ezek a fokozatjelzések a csavarok fején találhatók az egyszerű azonosítás érdekében. Az általános ISO fokozatok közé tartozik a 4.6, 8.8, 10.9 és 12.9. A 8.8-as fokozat egy átlagos közepes szilárdságú csavar, míg a 10.9 és 12.9 nagy szilárdságú, és olyan igényes területeken használatos, mint az autók és az építőipar. Az ASTM szabványok, mint például az A307 és az A325, szintén meghatározzák a csavarok teljesítményét. A biztonságos rögzítésű hatszögletű csavar megfelelő fokozata a biztonság kulcsa, mivel ez biztosítja, hogy a csavar meghibásodás nélkül bírja a terhelést.
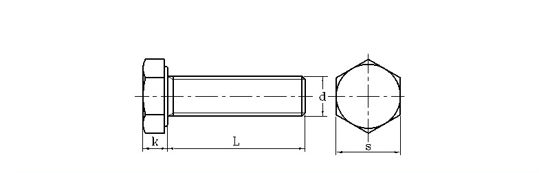
| mm | |||||||
| d | S | k | d | Szál | |||
| max | min | max | min | max | min | ||
| M3 | 5.32 | 5.5 | 1.87 | 2.12 | 2.87 | 2.98 | 0.5 |
| M4 | 6.78 | 7 | 2.67 | 2.92 | 3.83 | 3.98 | 0.7 |
| M5 | 7.78 | 8 | 3.35 | 3.65 | 4.82 | 4.97 | 0.8 |
| M6 | 9.78 | 10 | 3.85 | 4.14 | 5.79 | 5.97 | 1 |
| M8 | 12.73 | 13 | 5.15 | 5.45 | 7.76 | 7.97 | 1.25 |
| M10 | 15.73 | 16 | 6.22 | 6.58 | 9.73 | 9.96 | 1.5 |
| M12 | 17.73 | 18 | 7.32 | 7.68 | 11.7 | 11.96 | 1.75 |
| M14 | 20.67 | 21 | 8.62 | 8.98 | 13.68 | 13.96 | 2 |
| M16 | 23.67 | 24 | 9.82 | 10.18 | 15.68 | 15.96 | 2 |
| M18 | 26.67 | 27 | 11.28 | 11.7 | 17.62 | 17.95 | 2.5 |
| M20 | 29.67 | 30 | 12.28 | 12.71 | 19.62 | 19.95 | 2.5 |
El tudná magyarázni a Secure Fastening hatszögletű csavarok anyagösszetételét és korrózióvédelmi lehetőségeit?
Hatlapfejű csavarjainkat különböző anyagokból gyártjuk, például alacsony szén-dioxid-kibocsátású acélból, erősebb ötvözött acélból és rozsdamentes acélból (A2-304 és A4-316). A rozsda elleni védelem érdekében olyan bevonatokat kínálunk, mint az elektro-horganyzott horganyzás, a tűzihorganyzás és a Dacromet. A megfelelő bevonat kiválasztása számít a csavar élettartamának időtartamára, különösen olyan nehéz helyeken, mint az építkezések vagy a tenger közelében.
